Skip to main content

Demos: 1D-06 Swinging Weight Lifter


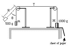
A 0.5-N weight can be made to pick up a 1.0-N weight. If the smaller weight is allowed to swing through a large enough arc, the tension in the connecting cord will exceed 1.0 N and lift the heavier weight. To show that it lifts the weight, a sheet of paper is held in place by the larger weight and is released when the weight lifts. For the larger weight to just lift:



Directions: Fold about an inch of the end of the paper so it will hang over the side when placed under the large weight. Pull the smaller weight to higher and higher angles until the large weight just lifts from the table.

Suggestions for Presentation: Ask if a smaller weight could ever lift a larger weight. If someone suggests a pulley system, ask if it could be done without a mechanical advantage.

Applications: There could be situations where this technique could be used to lift a heavy load. As an added challenge, assume 90° is a practical limit for the angle q. How heavy a weight, relative to the smaller weight, could you lift? (Ans: M = 3 m)

Add to Cart | View Cart

Last Updated: Nov 30, 2023 11:25 AM

Department of Physics and Astronomy, 525 Northwestern Avenue, West Lafayette, IN 47907-2036 • Phone: (765) 494-3000 • Fax: (765) 494-0706

Copyright © 2024 Purdue University | An equal access/equal opportunity university | Copyright Complaints | DOE Degree Scorecards

Trouble with this page? Accessibility issues? Please contact the College of Science.